Решение Суда по интеллектуальным правам от 10 июля 2023 г. по делу N СИП-241/2023 Суд отказал в иске о признании недействительным решения Роспатента, принятого по результатам рассмотрения возражения против выдачи патента на полезную модель, поскольку спорная полезная модель не соответствует условию патентоспособности "новизна"
Именем Российской Федерации
Резолютивная часть решения объявлена 4 июля 2023 года.
Полный текст решения изготовлен 10 июля 2023 года.
Суд по интеллектуальным правам в составе:
председательствующего судьи - Погадаева Н.Н.,
судей Борисовой Ю.В., Булгакова Д.А.,
при ведении протокола судебного заседания секретарем судебного заседания Покусаевой М.Н.,
рассмотрел в судебном заседании заявление общества с ограниченной ответственностью "Свобода" (ул. Варшавская, д. 6, оф. 4, г. Новосибирск, 630057, ОГРН 119547602799) о признании недействительным решения Федеральной службы по интеллектуальной собственности (Бережковская наб., д. 30, корп. 1, Москва, 123995, ОГРН 1047730015200) от 27.12.2022, принятого по результатам рассмотрения возражения против выдачи патента Российской Федерации N 197199 на полезную модель по заявке N 2019142449,
при участии в деле в качестве третьего лица, не заявляющего самостоятельных требований относительно предмета спора, Лазарева Дмитрия Владимировича (г. Новосибирск).
В судебном заседании приняли участие представители:
от общества с ограниченной ответственностью "Свобода" - Гусев А.Ю. (по доверенности от 15.12.2020);
от Федеральной службы по интеллектуальной собственности - Прокудин А.А. (по доверенности от 10.02.2023 N 01/4-32-278/41и);
от Лазарева Дмитрия Владимировича - Рассолова А.А. (по доверенности от 12.08.2022).
Суд по интеллектуальным правам
УСТАНОВИЛ:
общество с ограниченной ответственностью "Свобода" (далее - общество) обратилось в Суд по интеллектуальным правам с заявлением о признании недействительным решения Федеральной службы по интеллектуальной собственности (Роспатента) от 27.12.2022, принятого по результатам рассмотрения возражения против выдачи патента Российской Федерации на полезную модель N 197199.
В соответствии с частью 1 статьи 51 Арбитражного процессуального кодекса Российской Федерации к участию в деле в качестве третьего лица, не заявляющего самостоятельных требований относительно предмета спора, привлечен Лазарев Дмитрий Владимирович (далее - третье лицо).
Заявленные требования, с учетом представленных 13.06.2023 дополнений к заявлению, мотивированы тем, что решение административного органа является неправомерным.
В частности, заявитель отмечает, что при использовании сервиса интернет-архив следует учитывать, что веб-страницы разделены на кадры, содержание которых взято из разных источников, каждый из которых может иметь свою собственную дату публикации, следовательно, изображение которое располагалось на странице сайта на дату его архивирования в сервисе веб-архив, для отображения может быть подгружено из другого источника информации с более поздней датой или же с архивной копии того же сайта, сделанной на более позднюю дату. В данном случае заявитель полагает, что изображения подгружены с сайта после того, как правообладатель изменил их метаданные.
Исходя из ссылок Роспатента на позицию Суда по интеллектуальным правам, высказанную в рамках дела N СИП-677/2021, заявитель настаивает на том, что метаданные файлов (изображений), указанных в адресе URL ресурса в адресной строке браузера имеют возможность редактирования с помощью различных онлайн сервисов и программных приложений.
Заявитель обращает внимание на то, что сайт с противопоставленными спорной полезной модели изображениями принадлежит патентообладателю. Поскольку указания патентообладателя на то, что изображения порочащие новизну полезной модели имеют более позднюю дату публикации содержались лишь в заявлении, поданном в Роспатент после удовлетворения возражения, заявитель полагает, что третье лицо умышленно изменил метаданные изображений, опубликованных на его сайте с целью отмены первичного решения.
Заявитель отмечает, что метаданные URL адреса об их размещении на сайте не совпадают с датой публикации информации на сайте, только на тех фотографиях, которые порочат новизну полезной модели.
В ином дополнении к заявлению, заявитель настаивает на том, что сведения о размещении изображений 10.04.2022 являются недостоверными доказательствами, поскольку мета-данные изображений являются информацией, которая может быть изменена.
Более того заявитель также настаивает на том, что формула полезной модели не соответствует положению подпункта 3 пункта 2 статьи 1376 Гражданского кодекса Российской Федерации (далее - ГК РФ), поскольку отличительная часть независимого пункта формулы содержит альтернативные числительные признаки, выраженные в виде статичного диапазона и представлены в редакции "при этом расстояние от сиденья до настила составляет от 25 до 35 см.". В независимом пункте формулы спорной полезной модели охарактеризовано несколько технических решений, выраженных в виде альтернативы.
Роспатент возражает против удовлетворения заявленных требований, настаивая на их необоснованности с учетом требований, изложенных в пункте 52 Правил рассмотрения и разрешения федеральным органом исполнительной власти по интеллектуальной собственности споров в административном порядке, утвержденными приказом Министерства науки и высшего образования Российской Федерации и Министерства экономического развития Российской Федерации от 30.04.2020 N 644/261, зарегистрированным в Министерстве юстиции Российской Федерации 25.08.2020 N 59454 (далее - Правила ППС) и пункте 16 Руководства по осуществлению административных процедур и действий в рамках предоставления государственной услуги по государственной регистрации полезной модели и выдаче патента на полезную модель, его дубликата (утверждены приказом Роспатента от 26.12.2018 N 233; далее - Руководство).
Так, Роспатент настаивает на том, что противопоставленные источники - изображения, согласно данным URL изображения были загружены 10.04.2022 после даты приоритета (19.12.2019) оспариваемого патента па полезную модель и не могут быть включены в уровень техники для оценки патентоспособности.
По утверждению Роспатента сведения из распечатки Интернет-страницы могут быть включены в уровень техники для целей проверки оспариваемой полезной модели условию патентоспособности "новизна" только лишь в объеме одной фотографии и текстовой информацией к ней. Анализ данного источника показал, что известному из него техническому устройству не присущи признаки, идентичные всем существенным признакам, содержащимся в независимом пункте 1 формулы полезной модели по оспариваемому патенту Российской Федерации N 197199.
Возражая против позиции заявителя, изложенной в заявлении и дополнении к ним, Роспатент отмечает, что в разделе "Часто задаваемые вопросы" электронного архива WaybackMachine интернет-сервиса "http://web.archive.org/", содержится информация о том, как узнать, когда конкретное изображение было добавлено в архив; заявитель не представил доказательств, которые подтверждают возможность изменения метаданных изображений, которые были ранее помещены в Интернет-архив.
Третье лицо в представленном в материалы дела письменном отзыве также возражает против удовлетворения заявленных требований, считает доводы заявителя необоснованными и не подтвержденными материалами дела, а решение Роспатента и изложенные в нем выводы правомерными.
Так, третье лицо обращает внимание на то, что в рамках рассмотрения возражения Роспатент руководствовался подходом к установлению даты публикации изображений в веб архиве "https://web.archive.org/", отраженного в тексте вступившего в силу решения Суда по интеллектуальным правам по делу N СИП-677/2021; при этом вопреки мнению заявителя об обратном, правила WayBackMachine, которыми руководствовался Суд по интеллектуальным правам в деле N СИП-677/2021, присутствуют на сайте интернет-архива WayBackMachine по ссылке https://archive.org/legal/faq.php.
По мнению третьего лица:
позиция заявителя о том, что патентообладатель изменил метаданные файлов - противопоставленных изображений является несостоятельной и не подтверждается материалами дела;
выражая несогласие с выводами Роспатента относительно даты изображений, заявитель не приводит документально подтвержденные сведения об иной дате загрузки изображений в соответствии с положением пункта 52 Правил составления, подачи и рассмотрения документов, являющихся основанием для совершения юридически значимых действий по государственной регистрации полезных моделей, и их форм, утвержденных приказом Министерства экономического развития РФ от 30.09.2015 N 701 (далее - Правила ПМ);
заявитель не учитывает, что изображения на сайт могут подгружаться позже; после того, как робот WayBackMachine фиксирует информацию на каком-либо сайте, эта информация попадает в архив и остается там неизменной;
не представляется возможным изменить метаданные файлов, размещённых на сайте интернет-архива WayBackMachine https://web.archive.org/.
В судебном заседании 04.07.2023 представитель общества поддержал заявленные требования, просил их удовлетворить, пояснил свою правовую позицию по существу спора.
Представители Роспатента и третьего лица против удовлетворения заявленных требований возражали, настаивая на правомерности оспариваемого заявителем ненормативного правового акта, просили отказать в удовлетворении заявления.
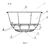
Как следует из материалов дела, патент Российской Федерации N 197199 на полезную модель "Устройство для купания" выдан по заявке N 2019142449 с приоритетом от 19.12.2019, установленным по дате подачи названной заявки, на имя Лазарева Дмитрия Владимировича со следующей формулой полезной модели:
"1. Устройство для купания, выполненное в виде металлической емкости, содержащей днище и стенки, которые включают горизонтальные ряды, расположенные под углом друг к другу, каждый из рядов выполнен плоскими трапециевидными гранями, сопряженными между собой боковыми сторонами, а меньшее основание трапециевидной грани одного ряда сопрягается с большим основанием трапециевидной грани нижерасположенного ряда, при этом сопряжение граней выполнено с образованием ребер, а днище выполнено плоским в форме равностороннего многоугольника, стороны многоугольника сопряжены с нижними основаниями трапециевидных граней нижнего ряда, отличающееся тем, что дополнительно содержит настил, расположенный в нижней части емкости, и, как минимум, одно сиденье, закрепленное внутри емкости, при этом расстояние от сиденья до настила составляет от 25 до 35 см.
2. Устройство по п. 1, отличающееся тем, что угол наклона граней ряда, расположенного выше уровня сиденья, составляет от 100 до 110 градусов относительно горизонтали.
3. Устройство по п. 1, отличающееся тем, что сиденье закреплено к стенкам емкости с внутренней стороны с помощью крепежных элементов.
4. Устройство по п. 1, отличающееся тем, что в нижней части металлической емкости расположено сливное отверстие".
Формула полезной модели сопровождается следующими изображениями:
,
,
.
Выражая свое несогласие с предоставлением правовой охраны вышеназванной полезной модели, заявитель 09.05.2022 подал в Роспатент возражение, мотивированное несоответствием запатентованной полезной модели условию патентоспособности "новизна".
Доводы возражения сводились к следующему:
совокупность признаков независимого пункта 1 формулы полезной модели по оспариваемому патенту охарактеризована количественными признаками, выраженными в виде интервала: "при этом расстояние от сиденья до настила составляет от 25 до 35 см", что свидетельствует о наличии нескольких технических решений, включающих устройство для купания, в котором расстояние от сиденья до настила составляет 25 см или 26 см или... 35 см;
существенные признаки независимого пункта 1 формулы полезной модели по оспариваемому патенту известны из сведений, содержащихся в сети Интернет по адресу: https://web.archlve.Org/web/201807161303 28/https://sibach.ru/ (далее - источник [1]), а также пяти изображений взятых с источника [1]: фиг. 1 (далее - фото N 1), фиг. 2 (далее - фото N 2), фиг. 3 (далее - фото N 3), фиг. 4 (далее - фото N 4), фиг. 5 (далее - фото N 5). Впоследствии представлены также источники: фотография с текстом фиг. 6 (далее - фото N 6), дополнительная фотография фиг. 7 (далее - фото N 7);
признаки независимого пункта 1 формулы полезной модели по оспариваемому патенту, представленные в виде числовых параметров "от 25 до 35 см" являются несущественными, не влияют на повышение показателей эргономичности, а обеспечивают комфортное расположение пользователя;
признаки зависимых пунктов 2-3 формулы полезной модели по оспариваемому патенту являются несущественными в отношении достижения технического результата, указанного в описании оспариваемого патента;
признаки зависимого пункта 4 формулы полезной модели по оспариваемому патенту известны из источника [1] (фото N 4 и фото N 5);
совокупность существенных признаков полезной модели стала известна из Интернет-страницы [1] 16.07.2018, то есть ранее даты приоритета (19.12.2019) полезной модели по оспариваемому патенту, и признаки оспариваемой полезной модели отображены в приложении к возражению па представленных фотографиях (фото N 1-N 6);
По результатам рассмотрения доводов возражения Роспатент в качестве ближайшего аналога, относящееся к средству того же назначения, что и спорный патент выбрал - устройство для купания - сибирский банный чан, известный из сведений, содержащихся в источнике [1], а также отметил, что сведения из источника [1] могут быть включены в уровень техники, для целей проверки оспариваемой полезной модели условиям патентоспособности "новизна", только лишь в объеме фото N 6 и текстовой информацией к ней.
Проведя сравнительный анализ устройств, Роспатент установил, что устройство, охарактеризованное в независимом пункте 1 формулы полезной модели по спорному патенту, отличается от устройства, известного из источника [1] (фото N 6 и текстовая информацией к ней), тем, что:
трапециевидные грани сопряжены между собой боковыми сторонами, меньшее основание трапециевидной грани одного ряда сопрягается с большим основанием трапециевидной грани нижерасположенного ряда, при этом сопряжение граней выполнено с образованием ребер;
днище выполнено плоским в форме равностороннего многоугольника, стороны многоугольника сопряжены с нижними основаниями трапециевидных граней нижнего ряда.
Роспатент также установил, что:
в описании оспариваемого патента па полезную модель указаны два результата: 1) повышение показателей эргономичности заявленного устройства и 2) увеличение жесткости конструкции; в описании полезной модели по оспариваемому патенту содержатся сведения, поясняющие влияние вышеуказанных существенных признаков на, но меньшей мере, технический результат 2);
отличительные признаки являются существенными и они не присущи техническому решению известному из источника [1].
Принимая во внимание вышеизложенные выводы, Роспатент констатировал, что заявителем, не доказана известность из уровня техники средства, которому присущи признаки, идентичные всем существенным признакам, содержащимся в формуле полезной модели по оспариваемому патенту.
В связи с этим, Роспатент признал, что возражение не содержит доводов, позволяющих сделать вывод о несоответствии решения по оспариваемому патенту условию патентоспособности "новизна".
При этом отклоняя довод возражения о том, что в формуле полезной модели по оспариваемому патенту охарактеризовано несколько технических решений, Роспатент обратил внимание на то, что требования подпункта 3 пункта 2 статьи 1376 ГК РФ не входят в перечень оснований для оспаривания полезной модели (пункт 4 статьи 1398 ГК РФ).
Роспатент также отметил, что анализ зависимых пунктов 2-4 формулы полезной модели по оспариваемому патенту не проводился в соответствии с пунктом 72 Правил ПМ.
В связи с изложенным, Роспатента решением от 27.12.2022 отказал в удовлетворении возражения заявителя, тем самым сохранив правовую охрану патента Российской Федерации N 197199.
Принятие Роспатентом указанного решения послужило основанием для обращения общества в суд с рассматриваемым заявлением.
Изучив материалы дела, выслушав мнения присутствующих в судебном заседании представителей лиц, участвующих в деле, и оценив все доказательства в совокупности и взаимосвязи по правилам статьи 71 Арбитражного процессуального кодекса Российской Федерации, суд пришел к следующим выводам.
В соответствии со статьей 13 ГК РФ ненормативный акт государственного органа или органа местного самоуправления, не соответствующий закону или иным правовым актам и нарушающий гражданские права и охраняемые законом интересы гражданина или юридического лица, может быть признан судом недействительным.
Согласно части 1 статьи 198 Арбитражного процессуального кодекса Российской Федерации, граждане, организации и иные лица вправе обратиться в арбитражный суд с заявлением о признании недействительными ненормативных правовых актов, незаконными решений и действий (бездействия) органов, осуществляющих публичные полномочия, должностных лиц, если полагают, что оспариваемый ненормативный правовой акт, решение и действие (бездействие) не соответствуют закону или иному нормативному правовому акту и нарушают их права и законные интересы в сфере предпринимательской и иной экономической деятельности, незаконно возлагают на них какие-либо обязанности, создают иные препятствия для осуществления предпринимательской и иной экономической деятельности.
Основанием для принятия решения суда о признании ненормативного акта недействительным являются одновременно как его несоответствие закону или иному правовому акту, так и нарушение указанным актом гражданских прав и охраняемых законом интересов гражданина или юридического лица, обратившихся в суд с соответствующим требованием (статья 13 ГК РФ, пункт 138 постановления Пленума Верховного Суда Российской Федерации от 23.04.2019 N 10 "О применении части четвертой Гражданского кодекса Российской Федерации" (далее - Постановление N 10)).
Заявление может быть подано в арбитражный суд в течение трех месяцев со дня, когда гражданину, организации стало известно о нарушении их прав и законных интересов, если иное не установлено федеральным законом. Пропущенный по уважительной причине срок подачи заявления может быть восстановлен судом (пункт 4 статьи 198 Арбитражного процессуального кодекса Российской Федерации).
Установленный срок заявителем соблюден, что лицами, участвующими в деле, не оспаривается.
В соответствии с частью 4 статьи 200 Арбитражного процессуального кодекса Российской Федерации при рассмотрении дел об оспаривании ненормативных правовых актов, решений и действий (бездействия) органов, осуществляющих публичные полномочия, должностных лиц арбитражный суд в судебном заседании осуществляет проверку оспариваемого акта или его отдельных положений, оспариваемых решений и действий (бездействия) и устанавливает их соответствие закону или иному нормативному правовому акту, устанавливает наличие полномочий у органа или лица, которые приняли оспариваемый акт, решение или совершили оспариваемые действия (бездействие), а также устанавливает, нарушают ли оспариваемый акт, решение и действия (бездействие) права и законные интересы заявителя в сфере предпринимательской и иной экономической деятельности.
Исходя из полномочий Роспатента, закрепленных в Положении о Федеральной службе по интеллектуальной собственности, утвержденном постановлением Правительства Российской Федерации от 21.03.2012 N 218 "О Федеральной службе по интеллектуальной собственности", рассмотрение и разрешение в административном порядке споров, возникающих, в том числе в связи с оспариванием предоставления правовой охраны результатам интеллектуальной деятельности и средствам индивидуализации, находится в его компетенции.
Как разъяснено в пункте 27 Постановления N 10, при оспаривании решений Роспатента и федерального органа исполнительной власти по селекционным достижениям суды должны учитывать: заявки на выдачу патента, заявки на товарный знак, а также заявки на наименование места происхождения товара подлежат рассмотрению в порядке, установленном законодательством, действовавшим на дату подачи заявки, а международные заявки на изобретение, промышленный образец или товарный знак и преобразованные евразийские заявки - на дату поступления заявки в Роспатент. По возражениям против выдачи патента, предоставления правовой охраны товарному знаку, наименованию места происхождения товара основания для признания недействительным патента, предоставления правовой охраны товарному знаку, наименованию места происхождения товара определяются исходя из законодательства, действовавшего на дату подачи заявки в Роспатент или в федеральный орган исполнительной власти по селекционным достижениям. Основания для признания недействительным патента на изобретение, выданного по международной заявке на изобретение или по преобразованной евразийской заявке, признания недействительным предоставления правовой охраны промышленному образцу или товарному знаку по международной регистрации определяются исходя из законодательства, действовавшего на дату поступления соответствующей международной или преобразованной евразийской заявки в Роспатент, если иное не предусмотрено международным договором Российской Федерации. Вместе с тем подлежит применению порядок рассмотрения соответствующих возражений, действующий на момент обращения за признанием недействительными патента, предоставления правовой охраны товарному знаку, наименованию места происхождения товаров.
В соответствии с частью 5 статьи 200 Арбитражного процессуального кодекса Российской Федерации обязанность доказывания соответствия оспариваемого ненормативного правового акта закону или иному нормативному правовому акту, законности принятия оспариваемого решения, совершения оспариваемых действий (бездействия), наличия у органа или лица надлежащих полномочий на принятие оспариваемого акта, решения, совершение оспариваемых действий (бездействия), а также обстоятельств, послуживших основанием для принятия оспариваемого акта, решения, совершения оспариваемых действий (бездействия), возлагается на орган или лицо, которые приняли акт, решение или совершили действия (бездействие).
С учетом даты подачи заявки на выдачу оспариваемого патента (19.12.2019), а также возражения против выдачи патента (09.05.2022) при рассмотрении настоящего дела подлежат применению ГК РФ, Правила ПМ и Требования к документам заявки на выдачу патента на полезную модель, утвержденные приказом Министерства экономического развития Российской Федерации от 30.09.2015 N 701 (далее - Требования).
Согласно пункту 1 статьи 1351 ГК РФ в качестве полезной модели охраняется техническое решение, относящееся к устройству. Полезной модели предоставляется правовая охрана, если она является новой и промышленно применимой.
В пункте 2 статьи 1351 ГК РФ указано, что полезная модель является новой, если совокупность ее существенных признаков не известна из уровня техники. Уровень техники в отношении полезной модели включает любые сведения, ставшие общедоступными в мире до даты приоритета полезной модели.
Обращаясь с возражением, заявитель ссылался на сведения, содержащиеся в источнике [1] (https://web.archive.Org/web/20180716130328/https://sibach.ru/), из которого взяты пять изображений, порочащих на дату приоритета спорной модели новизну спорного патента:
фото N 1
,
фото N 2
,
фото N 3
,
фото N 4
,
фото N 5
,
фото N 6
,
фото N 7
.
Пункт 2 статьи 1351 ГК РФ регулирует вопрос проверки соответствия полезной модели условию патентоспособности "новизна", а также устанавливает объем сведений, включаемый в уровень техники для проверки соответствия полезной модели этому условию патентоспособности.
Инструмент определения сведений, подлежащих включению в уровень техники для проверки заявленной полезной модели на соответствие условию патентоспособности "новизна", направлен в том числе на недопущение ситуации выдачи двух патентов на одинаковые технические решения.
В свою очередь, пункт 56 Правил ПМ регулирует объем информационного поиска для установления сведений, подлежащих включению в уровень техники, обеспечивая тем самым реализацию проверки заявленной полезной модели условию патентоспособности "новизна", а именно: при проведении информационного поиска в объем поиска для целей проверки новизны заявленной полезной модели включаются также при условии их более раннего приоритета все поданные в Российской Федерации другими лицами заявки на изобретения, полезные модели и промышленные образцы, кроме отозванных заявителем в соответствии со статьей 1380 ГК РФ, а также запатентованные в Российской Федерации изобретения, полезные модели и изобретения, запатентованные в соответствии с Евразийской патентной конвенцией, независимо от того, опубликованы ли сведения о них на дату приоритета заявки, по которой проводится информационный поиск.
Исходя из положений пунктов 51-60 Правил ПМ уровень техники включает в себя ставшие общедоступными до даты приоритета полезной модели опубликованные в мире сведения о средствах того же назначения, что и заявленная полезная модель, а также сведения об их применении в Российской Федерации. В уровень техники также включаются при условии их более раннего приоритета все поданные в Российской Федерации другими лицами заявки на изобретения и полезные модели, с документами которых вправе ознакомиться любое лицо в соответствии с пунктом 6 статьи 21 или частью второй статьи 25 Патентного закона Российской Федерации, и запатентованные в Российской Федерации изобретения и полезные модели.
Таким образом, в уровень техники подлежат включению любые сведения, ставшие общедоступными до даты приоритета спорного патента, однако опорочить его в связи с несоответствием условию патентоспособности "новизна" могут лишь сведения, характеризующие устройство, которому присущи все существенные признаки, свойственные спорной полезной модели.
В соответствии с пунктом 52 Правил ПМ общедоступными считаются сведения, содержащиеся в источнике информации, с которым любое лицо может ознакомиться. Датой, определяющей включение источника информации в уровень техники, для сведений о техническом средстве, ставших известными в результате его использования, является документально подтвержденная дата, с которой эти сведения стали общедоступными.
В данном случае в отношении представленных заявителем сведений, между ним и третьим лицом возник спор касаемо даты опубликования данных фотографий.
Заявитель настаивает на том, что спорные фотографии опубликованы 16.07.2018 (т.е. до даты приоритета спорной полезной модели), в то время как третье лицо настаивает на том, что фото N 1-5 и 7 были опубликованы 10.04.2022 (т.е. после даты приоритета спорной полезной модели), в связи с этим не могут быть учтены при рассмотрении поданных возражений. Дата публикации фото N 6 сторонами не оспаривается.
С целью установления фактической выгрузки каждого фото, Роспатент руководствовался информацией, изложенной в разделе "Часто задаваемые вопросы" интернет-сервиса WaybackMachine, расположенного по адресу "https://archive.org/legal/faq.php", которая содержит алгоритм действий, при совершении которых представляется возможным установить фактическую дату опубликования каждой конкретной фотографии.
Так, при переходе на названную ссылку, открывается окно, в котором на вопрос "Как я могу определить дату архивации конкретного изображения?" содержится следующий ответ: "Дата, назначенная Интернет-архивом, относится к файлу HTML, но не к файлам изображений, связанным с ним. Таким образом, изображения, которые появляются на печатной странице, возможно, не были заархивированы в ту же дату, что и файл HTML. Если вы хотите узнать, когда конкретное изображение было заархивировано, щелкните правой кнопкой мыши изображение и выберите "открыть изображение в новой вкладке [или окне]". Вы также можете выбрать "копировать местоположение изображения", открыть новую вкладку или окно браузера и вставить URL-адрес. Когда изображение откроется, просмотрите URL-адрес в адресной строке браузера, чтобы увидеть отметку времени для заархивированного изображения".
Изложенное опровергает позицию заявителя о том, что на портале электронного сервиса https://web.archive.org/ отсутствует названные правила.
Возможность использования данного метода при определении фактической даты выгрузки каждого конкретного изображения также подтверждается вступившим в законную силу решением Суда по интеллектуальным правам от 11.02.2022 по делу N СИП-677/2021.
С целью установления даты, с которой фото N 1-7 стали общедоступными в сети Интернет, Роспатент исследовал каждую противопоставленную заявителем фотографии, размещенные в источнике [1] путем наведения курсора на конкретную фотографию с последующим нажатием правой кнопкой мыши и выборе из всплывающего меню "Посмотреть код"; при нажатии на команду "Посмотреть код" появляется подробная информация о загруженном изображении, содержащая сведения о URL.
Исследовав, таким образом, каждую из противопоставленных фотографий Роспатент установил, что фото N 1-5 и N 7 стали общедоступными 10.04.2022, в то время как фото N 6, содержащее также текстовое сообщение, было опубликовано 27.11.2018, т.е. ранее даты приоритета спорной полезной модели.
В рамках проверки указанного вывода административного органа, судебная коллегия непосредственно в судебном заседании, состоявшемся 04.07.2023, осуществила осмотр ссылок https://web.archive.org/ путем перехода по указанной в отзыве третьего лица ссылке интернет - источника [1].
В процессе осмотра названных ссылок, осуществив вышеуказанный алгоритм действий, совершенный Роспатентом и позволяющий определить дату опубликования каждого противопоставленного источника, судебная коллегия констатировала соответствие дат размещения источников 1-5 установленных Роспатентом. Указанные проверочные действия зафиксированы протоколом судебного заседания, состоявшегося 04.07.2023.
Таким образом, вопреки позиции заявителя об обратном, представленными в материалы дела активными ссылками и соответствующими действиями подтверждается позиция административного органа о том, что фото N 1-5 и N 7 стали общедоступными (10.04.2022) после даты приоритета спорной полезной модели, в связи с этим, не могут быть включены в уровень техники, порочащие новизну спорном полезной модели.
Заявитель настаивает на том, что данные, содержащиеся в адресе URL ресурса в адресной строке, могут быть изменены, отредактированы с помощью различных онлайн сервисов и программных приложений учитывая, что источник [1], содержащий противопоставленные изображения принадлежит правообладателю.
Между тем, в материалы дела не представлены соответствующие доказательства, подтверждающие внесение правообладателем или иным лицом каких-либо изменений, что свидетельствует о том, что данный довод не подтвержден материалами дела и основан на предположениях заявителя. В связи с этим, данный довод не может быть принят во внимание.
По аналогичным основаниям не могут быть приняты во внимание ссылки заявителя на то, что часть противопоставленных фотографий содержат дату их фактического создания задолго до 2022 года, поскольку дата создания фотографии и дата ее фактической выгрузки в сеть Интернет, по мнению судебной коллегии не должны быть идентичными.
В данном конкретном случае, осуществив установленный правилами, изложенными на портале электронного сервиса https://web.archive.org/ алгоритм действий, судебная коллегия непосредственно в судебном заседании установила, что фото N 1-5 и N 7 стали общедоступными (10.04.2022) после даты приоритета спорной полезной модели.
Иное из материалов дела не следует, а выводы заявителя на обратном основаны на предположениях и не могут быть положены основу выводов о неправомерности обоснованных и мотивированных выводов административного органа.
Исходя из вышеизложенного Роспатент пришел к обоснованному выводу о том, что сведения из источника [1] могут быть включены в уровень техники для целей проверки оспариваемой полезной модели условиям патентоспособности "новизна", только лишь в объеме фото N 6 и текстовой информации к ней.
Как следует из правовой позиции, изложенной в постановлении президиума Суда по интеллектуальным правам от 06.09.2021 по делу N СИП-805/2019 вывод о несоответствии полезной модели условию охраноспособности "новизна" может быть сделан, если в противопоставленном источнике информации содержатся сведения о средстве тождественного с полезной моделью по спорному патенту назначения, которому присущи все приведенные в независимом пункте формулы полезной модели по спорному патенту существенные признаки.
Таким образом, проверка соответствия полезной модели условию патентоспособности "новизна" предполагает необходимость установления назначения спорного и противопоставленного технических решений и оценки их взаимного соотношения, а также необходимость выявления существенных (т.е. влияющих на достижение технического результата) признаков полезной модели по спорному патенту и их сопоставления с признаками, известными из противопоставленного источника информации.
Роспатентом установлено, что из фото N 6 известно устройство для купания, выполненное в виде металлической емкости, содержащей стенки, которые включают горизонтальные ряды, расположенные под углом друг к другу, каждый из рядов выполнен плоскими трапециевидными гранями.
Проведя сравнение названного устройства с устройством, раскрытым в независимом пункте 1 формулы полезной модели по спорному патенту, Роспатент выявил отличительные признаки устройства по спорному патенту, к которым относятся:
- трапециевидные грани сопряжены между собой боковыми сторонами, а меньшее основание трапециевидной грани одного ряда сопрягается с большим основанием трапециевидной грани нижерасположенного ряда, при этом сопряжение граней выполнено с образованием ребер;
- днище выполнено плоским в форме равностороннего многоугольника, стороны многоугольника сопряжены с нижними основаниями трапециевидных граней нижнего ряда.
Принимая во внимание технический результат спорной полезной модели, Роспатент установил, что описание спорной полезной модели содержит сведения, поясняющие влияние вышеуказанных существенных признаков на, по меньшей мере, один технический результат 2), то есть, раскрыта причинно-следственная связь существенных признаков с указанным техническим результатом, что свидетельствует о существенности выявленных отличительных признаков.
Отклоняя довод заявителя о несоответствии патента требованиям подпункта 3 пункта 2 статьи 1376 ГК РФ (независимый пункт формулы спорной полезной модели содержит несколько технических решений, выраженных в виде альтернативы), судебная коллегия обращает внимание на то, что Роспатент правомерно отметил, что данные требования не входят в перечень оснований для оспаривания полезной модели (статья 1398 ГК РФ).
Кроме того, судебная коллегия обращает внимание на то, что согласно пункту 69 Правил ПМ, при проверке новизны полезная модель признается новой, если установлено, что совокупность ее существенных признаков, представленных в независимом пункте формулы полезной модели, неизвестна из сведений, ставших общедоступными в мире до даты приоритета полезной модели. Следовательно, только включение в независимый пункт формулы существенных признаков, неизвестных из противопоставленных источников информации, может устранить основания для признания полезной модели по спорному патенту не соответствующей условию патентоспособности "новизна".
Аналогичная правовая позиция изложена в постановлении президиума Суда по интеллектуальным правам от 06.03.2020 по делу N СИП-500/2019.
В данном случае выявленные Роспатентом отличительные признаки являются существенными и они не присущи техническому решению известному из фото N 6.
Изложенное свидетельствует о правомерности выводов административного органа о недоказанности заявителем известности из уровня техники средства, которому присущи признаки, идентичные всем существенным признакам, содержащимся в формуле полезной модели по оспариваемому патенту, что свидетельствует о соответствии спорной полезной модели условию патентоспособности "новизна" (пункт 1 статьи 1351 ГК РФ).
Оценив в соответствии с требованиями статьи 71 Арбитражного процессуального кодекса Российской Федерации представленные доказательства, суд приходит к выводу о законности оспариваемого ненормативного правового акта, поскольку судом проверено и установлено, что этот ненормативный правовой акт принят в рамках полномочий и соответствует требованиям действующего законодательства, не нарушает права и законные интересы заявителя, в связи с чем требование заявителя о признании оспариваемого решения недействительным не подлежит удовлетворению.
В соответствии со статьей 110 Арбитражного процессуального кодекса Российской Федерации отказ в удовлетворении заявленных требований является основанием для отнесения бремени расходов по оплате государственной пошлины за рассмотрение (подачу) заявления на заявителя.
Руководствуясь статьями 110, 167-170, 176, 180, 197-201 Арбитражного процессуального кодекса Российской Федерации, Суд по интеллектуальным правам
РЕШИЛ:
заявление общества с ограниченной ответственностью "Свобода" (ОГРН 119547602799) о признании недействительным решения Федеральной службы по интеллектуальной собственности (ОГРН 1047730015200) от 27.12.2022, принятого по результатам рассмотрения возражения против выдачи патента Российской Федерации N 197199 на полезную модель по заявке N 2019142449, оставить без удовлетворения.
Решение по настоящему делу вступает в законную силу немедленно и может быть обжаловано в кассационном порядке в президиум Суда по интеллектуальным правам в срок, не превышающий двух месяцев со дня принятия.
| Председательствующий судья | Н.Н. Погадаев |
| Судья | Ю.В. Борисова |
| Судья | Д.А. Булгаков |
Обзор документа
Общество попыталось оспорить патент, выданный на полезную модель.
Как указал заявитель, полезная модель не отвечает условию патентоспособности "новизна". Кроме того, ее формула не соответствует требованиям ГК РФ. В отличительной части независимого пункта охарактеризованы несколько технических решений, выраженных в виде альтернативы.
СИП отклонил такие доводы.
Ссылка на то, что независимый пункт формулы спорной модели содержит несколько технических решений, выраженных в виде альтернативы, несостоятельна. Подобное обстоятельство не указано в перечне установленных ГК РФ оснований для оспаривания патента.
